5月29日,恒大地产集团有限公司(连同其合并范围内子公司简称“发行人”)发布关于涉及重大诉讼及未能清偿到期债务等重大事项的公告。公告显示,截至2023年4月末,发行人涉及未能清偿的到期债务(不含境内外债券)累计约2724.79亿元。此外,截至2023年4月末,发行人逾期商票累计约人民币2459.87亿元。
房地产项目资产处置方面,截至2023年4月末,发行人通过股权转让、土地及在建工程转让、信托、代持等方式,已完成过户的房地产项目共计65个。

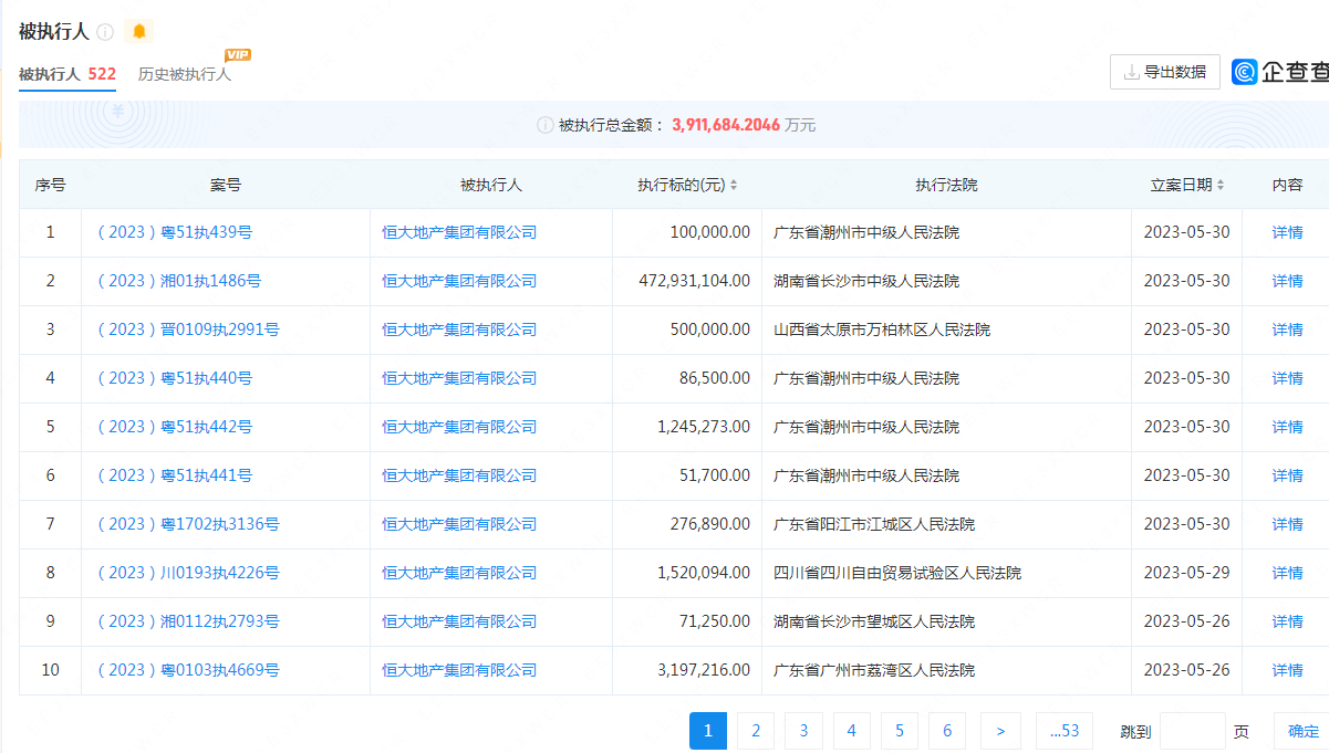
此外,企查查显示,2023年4月期间,恒大地产集团有限公司新增130条被执行信息,新增被执行金额合计29.24亿元。此外,2023年4月期间,恒大地产集团有限公司作为被执行人被冻结的子公司及参股公司股权新增27笔。
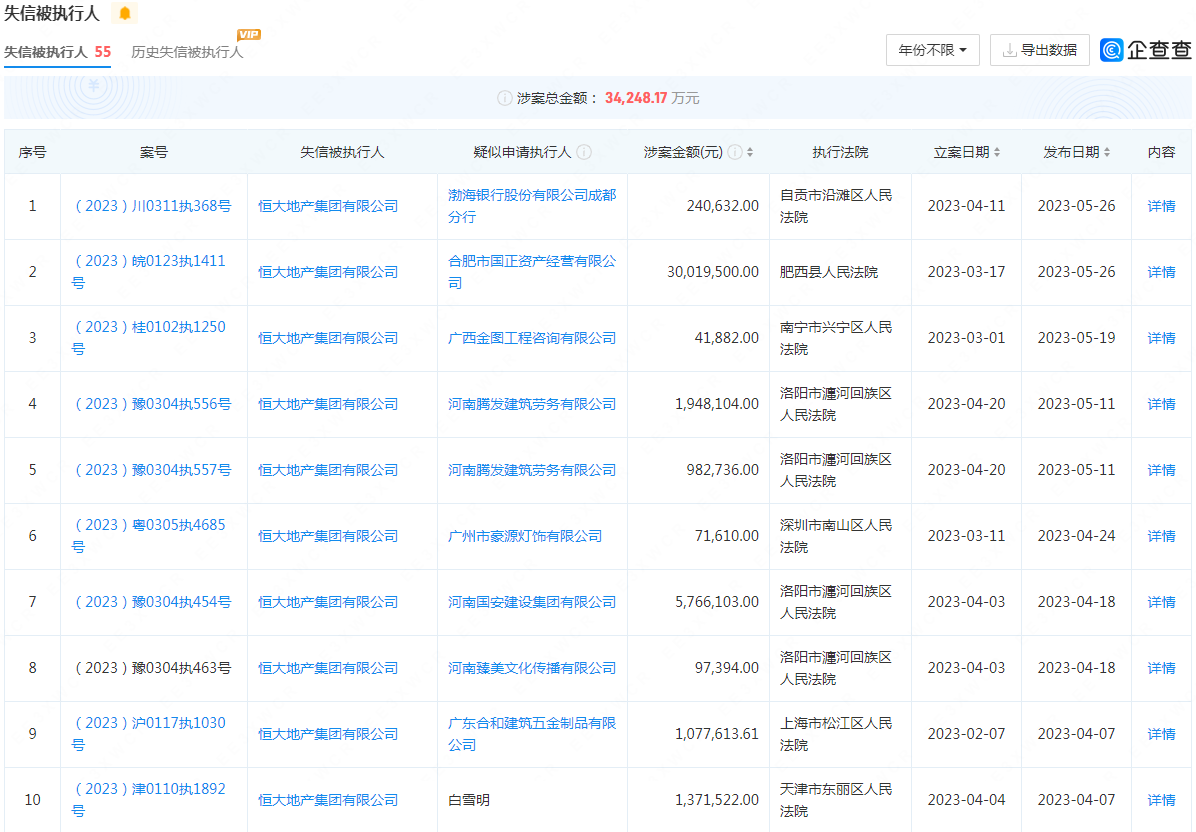
新增涉及被列为失信被执行人方面,2023年4月期间,恒大地产集团有限公司新增6条相关信息。具体情形均为有履行能力而拒不履行生效法律文书确定义务。



综合整理 编辑:Hordor
