近日,韶关有消费者反映,他们今年年初找了韶关市好莱客家居装饰有限公司装修,交了装修费,结果还没等装修完毕,装修公司就“关门大吉”了,相关负责人也联系不上。


韶关消费者叶小姐表示:“今年找了好莱客装修公司装修,前后共交付近12万元装修费,一开始如期进行,然而到了6月底,装修师傅不上门,公司工作人员也联系不上了。现如今房子还有三分之一没完工。”
相比叶小姐,另一位客户梁女士就更“倒霉”了,交了8万元,房子还没开工,装修公司就关门了。


梁女士表示,5月9日签了第一份合同,5月24号装修公司要她交总款的65%,结果27、28号,该公司就失联了。
记者现场看到,好莱客装修公司大门紧锁,门口张贴通知称,由于公司合并调整需要暂停营业,但公司电话未能接通。


律师认为,消费者和装修公司签订的是承揽合同,迟迟未完工,消费者可以要求装修公司承担违约责任;多次催告仍然无法履约,也可以要求装修公司退款。
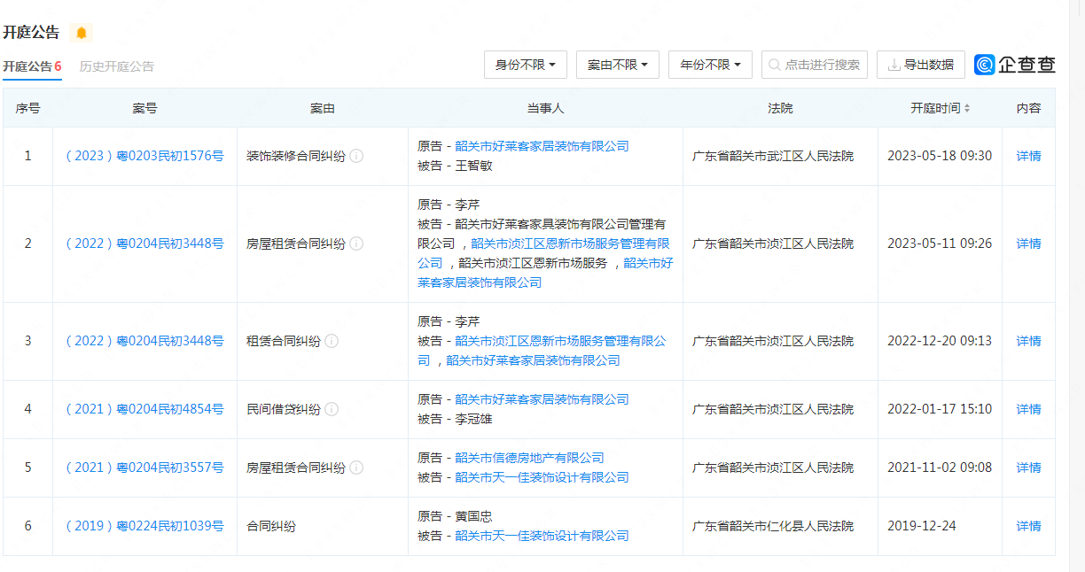
企查查显示,韶关市好莱客家居装饰有限公司曾用名为“韶关市天一佳装饰设计有限公司”,成立于2017年4月25日,法定代表人为杨广超,注册资本为100万元人民币,企业地址位于韶关市浈江区站南路63号信德万汇广场。目前该公司的经营状态为在营(开业)企业。值得关注的是,从去年1月开始,韶关市好莱客家居装饰有限公司有3条开庭公告,多条立案信息。

